
Un brevetto depositato da BMW introduce un sistema di fissaggio che utilizza l’emblema del marchio come struttura di azionamento della vite. Una soluzione tecnica che riporta al centro il tema del controllo del post-vendita e dell’accesso alle riparazioni.
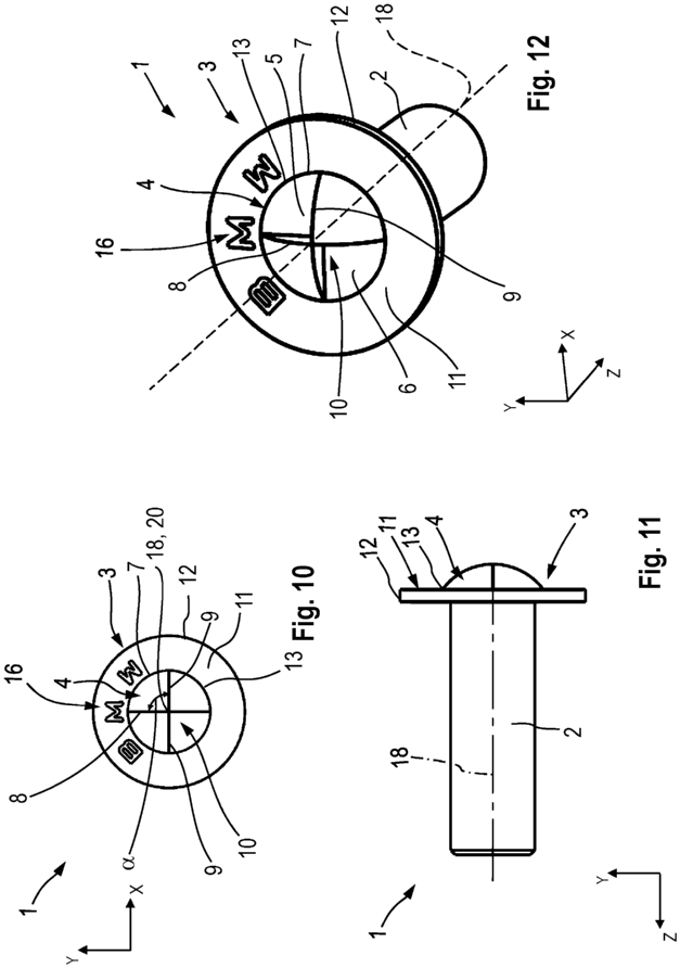
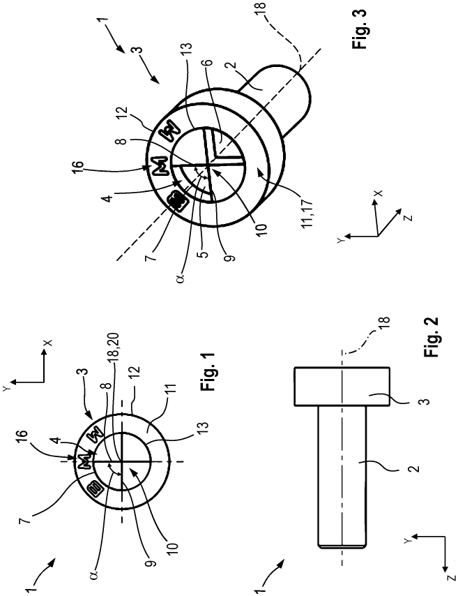
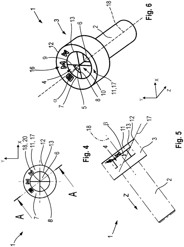
Nei giorni scorsi è emersa una notizia che, pur partendo da un documento tecnico, intercetta un tema sensibile per carrozzieri e autoriparatori: BMW ha depositato un brevetto per un sistema di fissaggio in cui la testa della vite non adotta geometrie standard, ma una sagomatura ispirata al proprio emblema.
Il documento è consultabile nel database WIPO dell’Organizzazione Mondiale della Proprietà Intellettuale e, a una lettura più attenta, chiarisce un punto rilevante: il brevetto non riguarda una singola vite, ma una vera e propria famiglia di elementi di fissaggio.
Le tavole tecniche e le descrizioni mostrano infatti diverse configurazioni della testa, accomunate dallo stesso principio progettuale: una geometria di innesto proprietaria, ispirata all’emblema BMW, che può assumere varianti differenti pur restando incompatibile con utensili standard. In altre parole, il brevetto tutela un concetto più ampio, applicabile a più tipologie di viti e fissaggi, e non un unico componente isolato.
Questo aspetto è centrale, perché amplia la portata potenziale della soluzione. Non si tratta solo di introdurre una vite “speciale”, ma di disporre di un sistema di fissaggio modulare che potrebbe essere declinato su più punti del veicolo, mantenendo sempre lo stesso requisito: la necessità di attrezzi dedicati per l’intervento, rendendo inefficaci utensili comuni come Torx, esagonali o a croce.
La notizia è stata rilanciata dalla stampa specializzata internazionale, in particolare da Repairer Driven News , che sottolinea come questa soluzione potrebbe essere impiegata in aree interne del veicolo, ad esempio nei fissaggi della console centrale o dei sedili, ovvero in componenti non immediatamente visibili ma comunque rilevanti in fase di riparazione.
Dal punto di vista tecnico, il brevetto non introduce un concetto completamente nuovo: l’utilizzo di fissaggi proprietari è già presente in altri settori industriali. Ciò che rende il caso interessante per l’aftermarket automotive è il contesto in cui si inserisce, ovvero una fase storica in cui le case automobilistiche stanno progressivamente rafforzando il controllo sui processi di manutenzione e riparazione.
Negli ultimi anni, infatti, il post-vendita è diventato un terreno sempre più strategico. Software proprietari, procedure di calibrazione vincolate, accesso regolamentato ai dati tecnici e ora anche soluzioni meccaniche dedicate concorrono a delineare un modello in cui l’intervento sul veicolo tende a rimanere all’interno di perimetri sempre più definiti dal costruttore.
In questo scenario, il brevetto BMW può essere letto come un ulteriore tassello di una tendenza più ampia, piuttosto che come un singolo episodio isolato. Una tendenza che si intreccia direttamente con i grandi dossier regolatori europei degli ultimi anni: dal Right to Repair al Regolamento di Esenzione per Categoria (BER), fino al tema dell’accesso ai dati tecnici e di bordo dei veicoli. Non è detto che la soluzione venga effettivamente industrializzata o applicata su larga scala, ma il semplice fatto che venga studiata e protetta indica una direzione di ricerca chiara.
Per le carrozzerie e le officine indipendenti, il tema non è tanto la singola vite quanto il principio sottostante: l’accessibilità tecnica al veicolo. Lo stesso principio che è al centro del dibattito europeo sul Right to Repair, nato per garantire che la complessità tecnologica non diventi uno strumento di esclusione del mercato indipendente. Ogni elemento che richiede utensili, procedure o autorizzazioni specifiche incide sull’organizzazione del lavoro, sugli investimenti necessari e, in ultima analisi, sulla libertà operativa. È una dinamica già nota nel mondo software – tra diagnosi, calibrazioni e aggiornamenti – e che ora sembra estendersi anche alla componente meccanica, rafforzando un modello di controllo verticale del post-vendita.
La chiusura della questione non è soltanto tecnica, ma anche aftermarket. Per carrozzerie e officine indipendenti, ogni scelta progettuale che introduce vincoli proprietari – che siano software, procedure o componenti meccanici – si traduce in maggiori costi, tempi più lunghi e minore autonomia operativa. In ultima analisi, questi vincoli non ricadono solo sugli autoriparatori, ma anche sui consumatori, che vedono ridursi le possibilità di scelta e aumentare il costo complessivo della riparazione.
È legittimo che le case automobilistiche cerchino di tutelare i propri interessi industriali e il controllo sul post-vendita, oggi sempre più centrale nei modelli di business. Tuttavia, quando questa tutela si spinge fino a limitare l’accessibilità tecnica al veicolo, il confine tra innovazione e restrizione della concorrenza diventa sottile.
Il brevetto BMW sulle viti “brandizzate” va letto proprio in questa prospettiva: non come un dettaglio marginale, ma come l’ennesimo segnale di una partita che si gioca, sempre più apertamente, sul terreno della riparazione e della libertà di intervento sull’auto.
Tags: bmw




