
Quando il motore ha un forte calo di resa non sempre è facile individuarne la causa. Può anche trattarsi di un problema di connessione cavi danneggiata…
Le cause, però, possono essere anche di diverso tipo, non comuni, che portano il tecnico fuori strada.
Il ben noto 1.4 Tjet del gruppo FCA, nella sua versione a GPL, è un caso rappresentativo.
La diagnosi e le ipotesi di guasto
Il brillante motore bifuel Fiat, dalla cilindrata ridotta ma dalle prestazioni di tutto rispetto, improvvisamente può mostrare un calo di rendimento molto evidente, con la perdita totale del pedale acceleratore.La condizione di guasto è accompagnata da una serie di DTC presenti su più di una centralina.
Effettuando una scansione su tutti i nodi elettronici vettura, il risultato è il seguente:
- U0422: funzione di inerzia presente (centralina motore);
- U1601: linea can (bodycomputer);
- U1601: linea can (centralina ABS);
- B1046: interruttore inerziale (bodycomputer).
La particolarità consiste nel fatto che, in alcuni casi, i codici vengono regolarmente cancellati ma con la persistenza dello stato di avaria della vettura, mentre in altri casi i codici continuano a essere presenti nonostante il tentativo di cancellazione, avendo sempre l’auto in recovery.
Inoltre, è da notare che l’errore sulla linea CAN sia comparso in bodycomputer e in centralina ABS.
Da un punto di vista diagnostico, la tipologia e il comportamento dei codici guasto porta a ipotizzare un problema elettrico/elettronico.
Il DTC sulla rete CAN rende necessario una verifica delle condizioni di funzionamento della rete, che si possono effettuare sia in ohm (verifica della chiusura elettrica) sia in tensione (controllo dei corretti valori del segnale).
I controlli, però, non evidenziano nessuna anomalia.
Allora è utile verificare le connessioni elettriche della centralina iniezione alla ricerca di eventuali laschi dei connettori, presenza di ossido sui contatti o cavi danneggiati. A tale scopo, si consiglia di rimuovere il coperchio in plastica dei connettori della centralina e di rimuovere parte del nastro isolante dei fasci cavi (foto 1).
I controlli elettrici portano a scoprire la reale causa del guasto, che consiste nella perdita temporanea o totale di continuità di alcuni cablaggi, nella porzione di cavo immediatamente uscente dalla centralina.
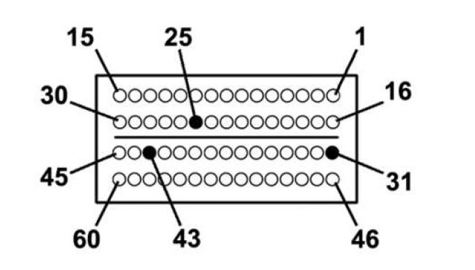
I collegamenti incriminati sono questi, tutti collegati sul connettore B della centralina (vedi foto 2):
*) cavo bianco-rosso collegato al pin 25 (segnale sensore temperatura aria);
*) cavo blu-rosso collegato al pin 43 (segnale sensore temperatura acqua);
*) cavo rosso-verde collegato al pin 31 (segnale bobina accensione).
L’interruzione dei cavi è determinata dal deterioramento delle saldature presenti sui cavi citati e mostrate nell’immagine 3.
La mancata o intermittente continuità causa delle anomalie elettriche in centralina motore, tali da originare quei codici guasto apparentemente legati a un problema CAN e alla funzione inerziale del motore.
Risoluzione del guasto
La riparazione è semplice: una volta eliminata la saldatura preesistente, spellare le estremità dei collegamenti per una lunghezza di 10 mm circa e ricongiungere ciascun cavo utilizzando dei tubetti di guaina termosaldante, già dotati di anelli in stagno per la giunzione.Didascalie
Foto 1
Connettore “B” centralina motore.
Foto 2
Pin out centralina connettore “B”.
Foto 3
Saldature difettose.
Tags: teknè
Leggi anche
APPROFONDIMENTI | 20/11/2025Manutenzione su un cambio doppia frizione ibridizzato: il Getrag 7HDT300
c.jpg)
c.jpg)

c.jpg)